/
/
Криогенные термометры на основе ре...
Криогенные термометры на основе резисторов ТВО

Одним из направлений деятельности ДИАЛТЕК является изготовление аппаратуры (контроллеров и мониторов температур, также термометров ТВО) для криогенных систем.
При правильном приме­нении они обеспечивают точность измерения температуры лучше 0,1% в диапазоне до 30 Кельвин.

В статье рассматриваются криогенные термометры от компании Диалтек, поставляемые нами для использования в криогенных азотных и гелиевых и системах.
Точность измерения температур термометров ТВО в диапазоне 1,8 – 40 Кельвин при правильном монтаже и использовании калибровок составляет не хуже ± 0,1%.
В статье рассмотрены особенности термометров ТВО (на основе постоянного термовлагостойкого объемного резистора).

Опыт применения резисторов типа ТВО в качестве рабочих криогенных термо­метров предложен в СССР. Их применение на криогенных установках показали, что параметры термометров на основе ТВО не хуже, чем у зарубежных, а в отношении рабочего интервала температур и стабильности даже лучше.

Безындуктивные композиционные резисторы типа ТВО (теплостойкий, влагостойкий, объемный) производятся с 1950 г. с номинальными мощностями от 60 Вт до 0,125 Вт, из которых в криогенике удобно применять резисторы с минимальными размерами, т.е. с номинальной мощностью
0,125 Вт (на рисунке ниже). Промышленность выпускает резисторы ТВО с до­пускаемыми отклонениями от номинальных сопротивлений ± 5%, ± 10%, ± 20%.
16 сентября
2024
- в интервале 4-10 К +/- 0.05 К;
- в интервале 10-30 К +/- 0.1 К;
- в интервале 30-100 К +/- 0.5 К;
Электроника от Диалтек для автоматизации производств. Управление двигателем большого вала кабельной машины
Уровень собственных шумов не превышает 5 мкВ/В для резисторов с сопротив­лением до 100 кОм. Достоинствами резисторов ТВО являются их безындуктивность и хорошая электрическая изоляция. Последний пункт позволяет применять их высоковольтных устройствах и системах.
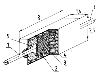
Конструкция резистора ТВО
Рис. Конструкция резистора ТВО:
1) платиновые выводы,
2) токопроводящая объемная композиция,
3) керамическая оболочка,
4) стеклоэмаль,
5) серебряный порошок.
Внешние магнитные поля практически не оказывают влияние на работу термометров ТВО, что делает их привлекательными в криогенных системах с сильными магнитными полями.

Погрешности показаний термометров ТВО в магнитном поле:
Погрешности показаний термометров ТВО в магнитном поле
Токопроводящая композиция внутри резистора ТВО состоит из мелкодисперсной газовой сажи, борно-свинцового флюса и корундового микропорош­ка, и ее ТКС зависит от ТКС сажи, имеющего полупроводниковый харак­тер, т.е. сопротивление ТВО нелинейно растет с понижением температуры. Типовой график зависимости сопротивления от температур для датчика низких температур ТВО выглядит так:
график зависимости сопротивления от температур для датчика ТВО
Измерения температур с использованием датчиков ТВО производятся по четырехпроводной схеме с питанием постоянным измерительным током 10 мкА высокой стабильности. Влияние величины измерительного тока на погрешность показаний термометров ТВО, находящихся в жидком гелии и в газе над уровнем (-1 см) жидкого гелия, показано в таблице:
Влияние величины измерительного тока на погрешность показаний термометров ТВО
Из таблицы видно, что для погрешности измерений ~ 1% (< 0,04 К при Т= 4,2 К) измерительный ток в термометре должен быть не бо­лее 10 мкА.

Для удобства стыковки с мониторами температур выбран оптимальный номинал резисто­ров ТВО, равный 1кОм,имеющий хорошую температурную чувствительность.

Калибровочная нелинейная функция термометра аппроксимирована с помощью полинома вида:
Калибровочная нелинейная функция термометра аппроксимирована с помощью полинома
где К - коэффициенты полинома,
n - степень полинома равна 7,
R- измеряемое сопротивление.
Такая формула позволяет определять сопротив­ление термометра при любой температуре (и наоборот, температуру по сопротивлению термометра).
При этом точность измерения температуры не хуже:
Нами производится калибровка термометров на всем температурном диапазоне, формируется таблица коэффициентов для каждого датчика, поставляется в комплекте с датчиком.
Вариант установки датчика ТВО на металлической подложке с каптоновым теплостоком, прикрепленной на трубу.
По своим параметрам резисторы типа ТВО в качестве криогенных термометров вполне удовлетворяют требованиям технического экспери­мента на криогенных установках в широком интервале температур от 2 до 450 К. При правильном приме­нении они дают точность измерения температуры лучше 0,1%.
Литература
Дацков, В.И. Криогенные термометры на основе резисторов типа ТВО и их применение / В.И.Дацков, Л.В.Петрова, Г.П.Цвинева. – Дубна : ОИЯИ, 1987. – 12 с. : ил. – (ОИЯИ ; Р8-87-604). – URL: http://inis.jinr.ru/sl/NTBLIB/JINR-P8-87-604.pdf. – Библиогр.: 12.
Термометры ТВО могут быть встроены в металлический корпус. Ниже представлены вариант изготовления датчика в медном золоченом корпусе в виде диска размером 6.5 x 13.5 мм для удобства его крепежа в узлы криогенных установок.