/
/
Интерфейс «токовая петля 4-20 мА»
Интерфейс «токовая петля 4-20 мА»

В одной из задач клиенту потребовалось обеспечить передачу результатов измерений напряжения с резистивного температурного датчика через интерфейс «токовая петля 4-20 мА», что было успешно реализовано в измерительном модуле ПКТ-2.420.

В статье рассмотрены реализация и внедрение интерфейса «токовой петли 4 – 20 мА». В измерительном модуле ПКТ-2.420 токовая петля используется для передачи показаний датчика температуры через аналоговый сигнал по двум проводам на большие расстояния.

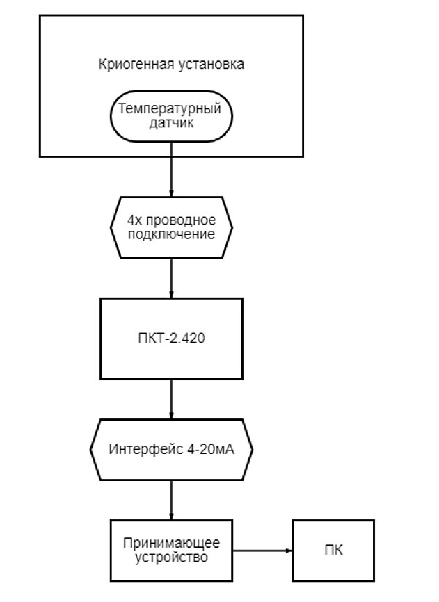
Считывание показаний с мониторов криогенных температур серии ПКТ от компании ДИАЛТЕК происходит через интерфейсы RS-485 или Ethernet TCP. В одной из задач клиенту потребовалось обеспечить передачу результатов измерений напряжения с резистивного температурного датчика через интерфейс «токовая петля 4-20 мА», что было успешно реализовано в измерительном модуле ПКТ-2.420.

Известно, что при передаче напряжения на значительные расстояния между устройствами (датчик и контроллер) происходит падение напряжения на длинной линии и как следствие потеря амплитуды сигнала, линия передачи искажает передаваемое напряжение. Проблема искажения данных при передаче на значительные расстояния может быть решена, если использовать для передачи ток вместо напряжения. Передача информации с помощью тока применяется в интерфейсе «токовая петля 4-20 мА».

Преимущество токовой петли заключается в том, что значение передаваемой величины, пропорциональное току в петле, не изменяется с увеличением длины линии передач. Значения, переданные при помощи тока, не зависят от длины и сопротивления линии передачи, поскольку управляемый источник тока будет автоматически поддерживать требуемый ток в линии.

Этот факт позволяет передавать через токовою петлю полезный сигнал на значительные расстояния, ток в петле при этом меняется в диапазоне от 4 до 20 мА.
15 марта
2025
ПКТ-2.420 содержит два измерительных канала для подключения терморезистивных или диодных криогенных датчиков и два канала интерфейса токовой петли 4-20 мА для передачи результатов измерений с датчиков.
Структурная схема ПКТ-2.42 разделена на две части – аналоговую (измерительную) и цифровую (логика и обмен данными). Аналоговая часть устройства, отвечающая за измерения напряжений на датчиках температуры и дальнейшую передачу полученных данных по интерфейсу SPI, включает в себя: два измерительных канала, состоящих из прецизионного источника тока и пары дифференциальных сигналов, соединённых с АЦП, аналого-цифровой преобразователь и его обвязку с фильтром от внешних электромагнитных помех и часть каскада гальванической развязки. После гальванической развязки цифровой сигнал поступает на вход микроконтроллера, который производит математические преобразования (применение медианного фильтра и тд.), над полученными данными, управляя логикой обмена данными передает информацию, используя интерфейсы токовой петли 4-20 мА или RS-485 принимающему устройству.
Значение в тока в выходной токовой петле в диапазоне 4-20 мА устанавливается цифро-аналоговым преобразователем, находящимся под управлением микроконтроллера. Ток выходной петли пропорционален напряжению на температурных датчиках, реализуется линейная функция зависимости тока от напряжения на датчике температуры: I=f(V)

Алгоритм настройки модуля ПКТ-2.420 предполагает установку соответствия между крайними значениями токовой петли и показаниями датчиков через интерфейс RS-485 Modbus RTU. Это делается один раз перед использованием модуля.

Можно сделать так, чтобы току 4 мА в петле соответствовало, например, значение датчика в 1000 Ом, а току 20 мА – значение датчика 6000 Ом для датчиков с положительным температурным коэффициентом. Настройки диапазонов могут быть любыми в зависимости от типа и характеристик датчика.

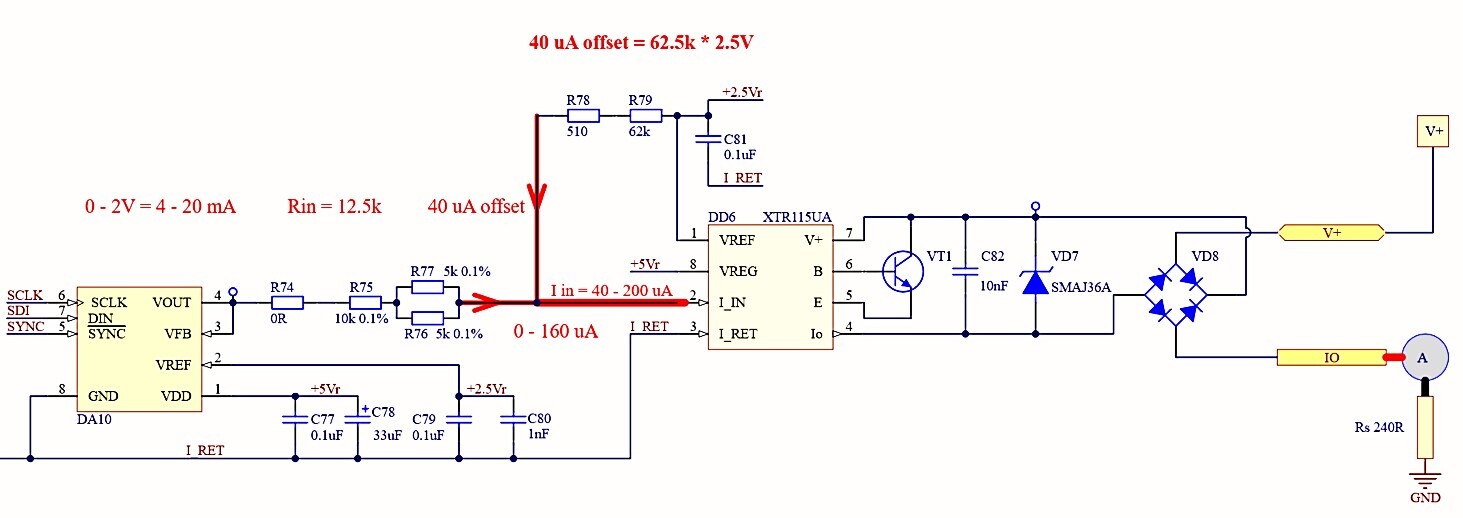
Для преобразования показаний температурного датчика в ток петли используется схема, показанная ниже. Ее основой является микросхема драйвера токовой петли XTR115, входное напряжение которой устанавливается цифро-аналоговым преобразователем. При этом каждый из двух каналов токовой петли в ПКТ-2.420 имеет отдельную гальваническую развязку и не соединяется с основной схемой во избежание попаданий помех длинной линии в измерительные цепи модуля.
Для измерения напряжения на температурных датчиках в модуле ПКТ-2.420 используется четырехпроводная измерительная схема сопротивления. Она содержит прецизионный источник тока (I+ I- на рисунке ниже), который подается на датчик. Полезным сигналом является падение напряжения на датчике (V+ и V- на рисунке). Величина падения напряжения пропорциональна сопротивлению датчика (закон Ома), которое зависит от его температуры. Типовыми значениями тока для криогенных датчиков являются величины 10 мкА и 100 мкА ± 0,1%. Зная ток и напряжение, можно рассчитать искомое сопротивление датчика и далее получить температуру по формуле из спецификации датчика.
Блок-схема токовой петли
Блок-схема ПКТ-420
Модуль ПКТ-2.420
Плата ПКТ-2.420
Драйвер токовой петли
4-х проводная схема измерений
Полная структурная схема
Схема токовой петли
Внедрение и испытания монитора температур ПКТ-2.420 показали исключительное удобство его использования в средствах АСУ, где требуется передача показаний с температурных датчиков через интерфейс токовой петли 4-20 мА.
Основные преимущества ПКТ 2.420:
Двухканальный модуль измерения сопротивления криогенных температурных датчиков с токовым выходом 4 – 20 мА.
• 2 канала измерения сопротивлений/температур
• Точность измерений не хуже ± 0,1%
• Разрядность АЦП – 24 Бит
• Настраиваемые источники тока для 4-проводной измерительный схемы сопротивлений
• 2 независимых выходных канала петли 4 – 20 мА
• Точность установки значения тока петли ± 0,1%
• Возможность установки в крейт Евромеханика 3U
Элементы VD7 и VD8 нужны для обеспечения защиты выходной цепи от превышения допустимого напряжения и включения в обратной полярности тока. Узел ПКТ-2.420 показан на рисунке ниже, выходы каналов токовой петли – справа, зеленые клеммные разъемы.
Схема подключения токовой петли, представленная на рисунке, позволяет запитать датчик непосредственно от линии передачи.
Монитор криогенных температур ПКТ-2.420 поддерживает возможность передачи показаний криогенных датчиков через интерфейс «токовая петля 4-20 мА», схема включения слева.